小模数等高齿直齿锥齿轮滚切加工(供参考了解)
发表时间:2020-05-22 网址:https://www.utransm.com/ 编辑:一同传动
小模数等高齿直齿锥齿轮滚切加工说明如下,供参考了解。
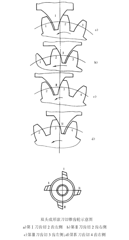
用成形滚刀滚切等高直齿锥齿轮是应用极为广泛的一种方法。滚刀可做成单头或双头的,下图是双头成形滚刀滚切锥齿轮示意图。

刀齿I、Ⅱ、Ⅲ、Ⅳ,分别切削出工件齿形2和3。
其运动关系式如下:

由于锥齿轮大小端直径不同,分度圆大小端切向线速度也不同,刀具由大端几小端走刀时,工件与刀具间的线速度逐渐减小,切削过程中形成愈近大端其齿槽愈宽,因此符合锥齿大小端齿槽或齿厚不等的要求。
锥齿轮的左右齿形分别由相差90°(双头滚刀)和180°(单头滚刀),且在同一螺旋线上的两个刀齿切出,这两个主刀刃形成的齿形曲线正好位于工件分度圆上,其中心通过齿轮中心,这样就可保证切出的齿轮分度圆上齿厚符合要求。
>下一篇:端面齿轮成形滚切加工说明(供参考了解)
CN
EN
广东一同传动有限公司 



























